要闻

史玉柱,又被执行!

2023-10-08 09:08
上海证券报

又是帮忙惹了祸?

天眼查显示,近日,史玉柱、北海宏泰投资有限公司(下称“宏泰投资”)新增一则被执行人信息,执行标的17.6亿余元,执行法院为北京金融法院。

记者注意到,史玉柱此次成为被执行人,对其中本金9.92亿元、利息1.08亿元及相应违约金,承担连带保证责任。

类似情况已有发生。9月18日,巨人投资有限公司(下称“巨人投资”)新增一则股权冻结信息,被执行人为史玉柱,冻结股权数额1.14亿元,执行法院为北京金融法院。

9月21日,巨人集团马全智发微博回应,“1.14亿元人民币股权冻结”是史玉柱帮朋友担保引起的事,会妥善处理。

史玉柱一直颇具争议,百亿身家却自称“屌丝”,微博ID名为“史玉柱大闲人”。2019年12月召开巨人集团30周年庆典晚会时,史玉柱说:“这30年中,我们不欠任何一家银行的钱,没有拖欠。”

如今,史玉柱给别人“帮忙”,反倒多次被“拖下水”。

偿还本金约9.92亿元

案件结果显示,史玉柱“对第一项判决所确认的全部债务、第三项判项所确认部分律师费916666.7元、部分诉讼财产保全责任保险费456161.4元承担连带保证责任”。

北京金融法院的第一项判决为,宏泰投资在判决生效之日起十日内,向中国民生信托有限公司(下称“民生信托”)偿还本金约9.92亿元,利息约1.08亿元。

同时,宏泰投资截至2021年7月16日(含)的违约金约425.33万元,2021年7月16日之后的违约金以约11亿元为基数,按年利率13.5%计算至全部款项实际支付之日止。

第二项判决为,宏泰投资在判决生效之日起十日内,向中国民生信托有限公司偿还本金约2.31亿元,利息3017.86万元。

同时,宏泰投资截至2021年7月16日(含)的违约金约139.46万元,2021年7月16日之后的违约金以约2.61亿元为基数,按年利率13.5%计算至全部款项实际支付之日止。

第三项判决为,宏泰投资于本判决生效之日起十日内,向中国民生信托有限公司支付律师费110万元、诉讼财产保全责任保险费547393.73元。

此前称妥善处理

史玉柱帮忙惹祸,在近期密集出现。

天眼查显示,9月18日,史玉柱旗下巨人投资有限公司新增一则股权冻结信息,被执行人为史玉柱,冻结股权数额约1.14亿元,执行法院为北京金融法院。

9月21日,巨人集团发言人马全智发微博回应,“1.14亿元人民币股权冻结”是史玉柱帮朋友担保引起的事,会妥善处理。

股权冻结是指法院通过限制股权所有者,提取或转移自己股权的一种强制措施,防止股权收益不当流失。

记者注意到,“喜欢帮忙”的史玉柱,此前多次因为“帮忙”导致所持公司股权被冻结。

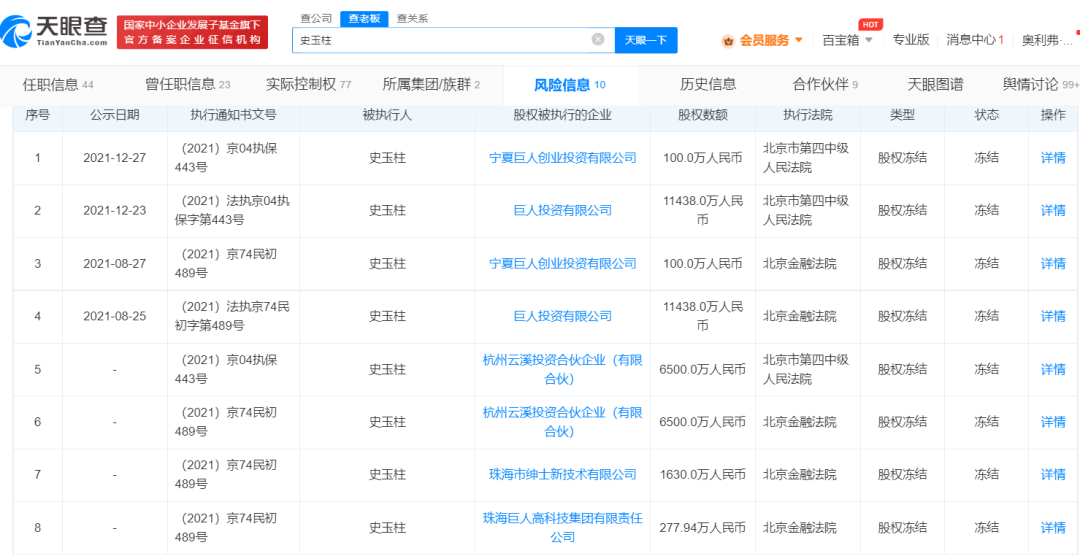
其中,2021年12月,史玉柱旗下约1.98亿元企业股权遭冻结,包括巨人投资、杭州云溪投资合伙企业(有限合伙)、珠海巨人高科技集团有限责任公司、珠海市绅士新技术有限公司4家公司股权,执行法院均为被北京市第四中级人民法院。

彼时,巨人集团对外发声,股权冻结主要是史玉柱曾经帮助别人做担保导致,属于其个人行为,与巨人网络、黄金搭档等巨人集团旗下公司无关系。

巧合的是,史玉柱同一时间在个人微博发布动态称:“帮朋友忙,多帮生活,少帮事业。”

当前再次出现股权冻结、被执行人信息,史玉柱又该如何妥善处理?

“大闲人”早有悔意

公开资料显示,自从巨人集团旗下公司上市后,运营主要由团队负责,史玉柱逐渐退居二线,整天“不务正业”,胡吃海喝,交了100多个男性朋友。

史玉柱在微博的ID名为“史玉柱大闲人”。《2023胡润全球富豪榜》显示,史玉柱、史静父女,以320亿元财富位列榜单第636位。

“我们巨人集团是不找朋友借钱的,也不找朋友担保。”史玉柱此前提到:“我一在酒桌上一喝,好,给这个人借钱,给那个人担保,这么一算十几年损失了好多钱。”

巨人集团由史玉柱一手打造,最早从自主研发的巨人汉卡业务起步,创造的品牌包括巨人汉卡、脑白金、黄金搭档、征途、球球大作战等。

其中,巨人集团在2004年进入互联网文化娱乐产业,并成立了巨人网络,截至9月28日市值约260亿元。

不过,史玉柱在2021年底,已经发微博直言“不要给朋友做担保!”

马全智提到,2022年9月,史玉柱就想明白了。前些年退休后,史玉柱交了100多个男性朋友、损失了不少钱,现在就想好好做游戏。

“担保有风险、签字需谨慎!”

记者注意到,连带责任在司法实践中较为常见,豪商巨贾和平民百姓都遭遇了类似情况。

2021年,王思聪被上海金融法院认定为被执行人,起因是其为一家上市公司股东向券商融资提供担保,承担连带责任执行标的约7701万元。

彼时,王思聪作为担保人,按担保协议约定应以所质押资产对相关方所承担债务负连带责任,被动成为被执行人。

“替朋友担保房子被法拍,女子以死相逼拒腾房”事件已经出现。公开资料显示,2021年郭女士以640万元在北京购入一套住宅,半年多了始终搬不进去。

前房主贺某为帮助朋友资金周转,将房产担保抵押给银行,对方未按时还款导致房屋被拍卖偿还欠款。贺某以家中老人无法接受为由以死相逼,最终在法官的劝说下同意腾房。

业内人士提醒:“担保真不是闹着玩儿的。”有律师在社交媒体上直言:“你签字这个行为,比你直接借给朋友100万风险还大!”

民法典规定,不同形式的担保,责任有所不同。如果是抵押或质押,担保人在抵质押物的价值范围内承担责任,如果是合同约定为保证责任,需要具体看约定为一般保证还是连带保证。

如何防止“帮了朋友,苦了自己”的情况出现?

业内人士提醒,担保人无论提供物保(抵押、质押等)还是人保(保证),一定要明白其具体的法律意义,不要轻易为他人提供担保。

如果确实需要提供担保,担保人要提前咨询专业人士意见,然后决定是否签订相关担保文书,并且要明确具体担保责任方式、担保数额、担保期限等细则。

责任编辑:王一川
0

分享到